New Homes » Chugoku » Okayama Prefecture » Tamano
 
| | Okayama Prefecture Tamano 岡山県玉野市 |
| Ryobibasu "Kureishi north" walk 1 minute 両備バス「暮石北」歩1分 |
| Shonai elementary school ・ Junior high and super, Less passage of a subdivision in which such hospital is near !! vehicles, It is a residential area of the area to be able to live freely in a quiet environment 荘内小学校・中学校やスーパー、病院などが近くにある分譲地です!!車の通り抜けが少なく、静かな環境でのびのびと暮らせるエリアの住宅地です |
| Shonai elementary school ・ Junior high and super, Less passage of a subdivision in which such hospital is near !! vehicles, It is a residential area of the area to be able to live freely in a quiet environment 荘内小学校・中学校やスーパー、病院などが近くにある分譲地です!!車の通り抜けが少なく、静かな環境でのびのびと暮らせるエリアの住宅地です |
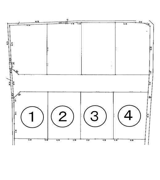
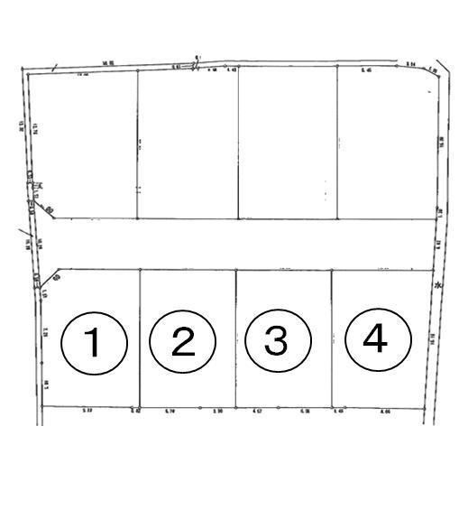
Features pickup 特徴ピックアップ | | Land 50 square meters or more / Vacant lot passes / Super close / Yang per good / A quiet residential area / Around traffic fewer / Shaping land / Flat terrain / Building plan example there 土地50坪以上 /更地渡し /スーパーが近い /陽当り良好 /閑静な住宅地 /周辺交通量少なめ /整形地 /平坦地 /建物プラン例有り | Price 価格 | | 6,450,000 yen water and sewerage contributions are also included !! was to construct complete !! 645万円上下水道負担金も含まれています!! 造成完成しました!! | Building coverage, floor area ratio 建ぺい率・容積率 | | Kenpei rate: 60%, Volume ratio: 200% 建ペい率:60%、容積率:200% | Sales compartment 販売区画数 | | 4 compartments 4区画 | Total number of compartments 総区画数 | | 8 compartment 8区画 | Land area 土地面積 | | 170.64 sq m ~ 170.65 sq m (51.61 tsubo ~ 51.62 tsubo) (measured) 170.64m2 ~ 170.65m2(51.61坪 ~ 51.62坪)(実測) | Driveway burden-road 私道負担・道路 | | Road width: 6m, Asphaltic pavement, Complex within 6m road 道路幅:6m、アスファルト舗装、団地内6m道路 | Land situation 土地状況 | | Vacant lot 更地 | Construction completion time 造成完了時期 | | 2012. July 31 平成24年7月末 | Address 住所 | | Okayama Prefecture Tamano Nagao 岡山県玉野市長尾 | Traffic 交通 | | Ryobibasu "Kureishi north" walk 1 minute JR Uno Line "Uno" walk 77 minutes 両備バス「暮石北」歩1分JR宇野線「宇野」歩77分
| Contact お問い合せ先 | | TEL: 0800-603-3285 [Toll free] mobile phone ・ Also available from PHS Caller ID is not notified Please contact the "saw SUUMO (Sumo)" If it does not lead, If the real estate company TEL:0800-603-3285【通話料無料】携帯電話・PHSからもご利用いただけます 発信者番号は通知されません 「SUUMO(スーモ)を見た」と問い合わせください つながらない方、不動産会社の方は
| Land of the right form 土地の権利形態 | | Ownership 所有権 | Building condition 建築条件 | | With 付 | Time delivery 引き渡し時期 | | Consultation 相談 | Land category 地目 | | Rice field 田 | Use district 用途地域 | | Semi-industrial 準工業 | Overview and notices その他概要・特記事項 | | Facilities: Public Water Supply, This sewage, Individual LPG 設備:公営水道、本下水、個別LPG | Company profile 会社概要 | | <Seller> Minister of Land, Infrastructure and Transport (3) No. 005721 es ・ by ・ Elle ・ Kabaya Ltd. Tamano exhibition hall Yubinbango706-0151 Tamano City, Okayama Prefecture Nagao 776-18 <売主>国土交通大臣(3)第005721号エス・バイ・エル・カバヤ(株)玉野展示場〒706-0151 岡山県玉野市長尾776-18 |
 Local land photo
現地土地写真
Local photos, including front road前面道路含む現地写真  Local (February 2013) Shooting
現地(2013年2月)撮影
 Construction completion expected view
造成完了予想図
Building plan example (Perth ・ Introspection)建物プラン例(パース・内観)  Building plan example ( Issue land) Building Price Ten thousand yen, Building area sq m
建物プラン例( 号地)建物価格 万円、建物面積 m2
Junior high school中学校  Tamano Municipal Shonai to junior high school 360m
玉野市立荘内中学校まで360m
The entire compartment Figure全体区画図  Current, Will be a beautiful subdivision !! is in mid is in construction, but the end of June
現在、造成中ですが6月末頃には綺麗な分譲地になります!!
Other localその他現地  Local (February 2013) Shooting
現地(2013年2月)撮影
Building plan example (Perth ・ appearance)建物プラン例(パース・外観)  Building plan example ( Issue land) Building Price Ten thousand yen, Building area sq m
建物プラン例( 号地)建物価格 万円、建物面積 m2
Convenience storeコンビニ  1000m to Circle K Tamano Tamahara shop
サークルK玉野玉原店まで1000m
Drug storeドラッグストア  300m until Kanemitsu chemicals Tamano Shonai shop
金光薬品玉野荘内店まで300m
Post office郵便局  Tamano Shonai 300m to the post office
玉野荘内郵便局まで300m
Local land photo現地土地写真  Local (February 2013) Shooting
現地(2013年2月)撮影
Location
|